ALTA II
ALTA II
- Top-lever mixer tap in slim aesthetic design
- High spout for easy filling of large pots and vases
- 360° swivel spout for more range
- Available in Silgranit colours and chrome finish for beautiful combinations with the kitchen sink
raw material: Stainless steel
colour: anthracite
wall mounted: No | high/low-pressure: High Pressure | high spout: No
Article number 527575
Data & Documentation
Data sheet & Documentation
- 2 spray types
- No
- 2-handle
- No
- archetype
- head control
- bridge
- No
- filter mixer tap
- No
- flow rate (actual) at 3 bar (l/min)
- 5.2 l
BLANCO UNIT
Our BLANCO UNIT recommendations
ALTA II in BLANCO UNIT
Spare parts
Spare parts

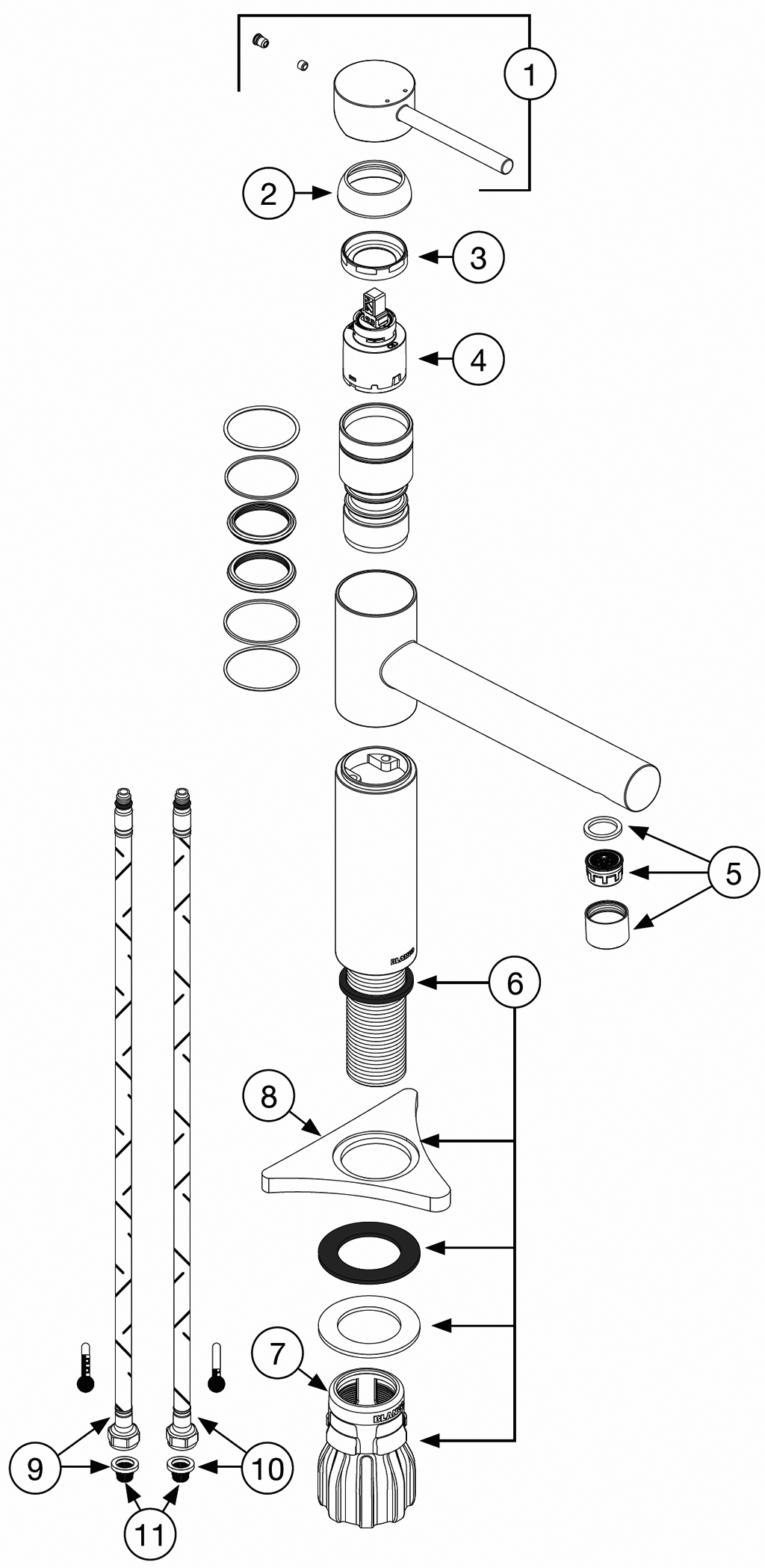
| № | Image | Article numbers & descriptions |
|---|---|---|
1 | ![]() | 124917 Art. ID: 124917 02/2024 |
2 | ![]() | 124918 Art. ID: 124918 02/2024 |
3 | ![]() | 124890 Art. ID: 124890 02/2024 |
4 | ![]() | Cartridge HP 35 mm K-35A Art. ID: 121894 02/2024 |
6 | ![]() | 124893 Art. ID: 124893 02/2024 |
7 | ![]() | 203370 Art. ID: 203370 02/2024 |
8 | ![]() | Stabilization plate ORION/PALLAS/TERA/URANUS Art. ID: 126945 02/2024 |
9 | ![]() | 123980 Art. ID: 123980 02/2024 |
10 | ![]() | 123981 Art. ID: 123981 02/2024 |
11 | ![]() | 124264 Art. ID: 124264 02/2024 |
![]() | Hex key (key size 2.5 mm) Art. ID: 139188 02/2024 | |
![]() | Additional mixer taps stabilisation 60mm Art. ID: 513383 02/2024 | |
![]() | Additional mixer taps stabilisation 75mm Art. ID: 513384 02/2024 | |
![]() | Flexible sealing tape Art. ID: 120055 02/2024 |


































